Luger magazines with wood bottom
- Pistols with a fixed magazine
- Hugo Borchardt's removable magazine
- Georg Luger's improvements
- Standard eight-cartridge capacity magazine prior to 1925
- The Luger magazine bottom piece
- The follower's button improvement
- Luger bottom first markings
- Portuguese Luger magazine
- Dutch Luger magazine
- German Military Luger magazine
- Cartridge Counter Luger magazine
- German Marine Luger magazine
- Erfurt Magazines
Aluminium bottoms of the Weimar era
- The magazine bottom from 1925 onward
- Simson & Co magazines
- Simson's specific markings
- The Naval specific markings of the Weimar era
- The HAENEL improved magazine
- HAENEL magazine specific markings
- Police Luger magazines
Magazine bottoms of the Nazi & post-Nazi era
- The Krieghoff's magazines
- Nazi Police markings
- Military Nazi magazines
- Mauser made magazines
- Improvement of the magazine coil spring
- Modification of the magazine bottom attachment
- Black plastic Luger bottom
Snail or drum Luger magazines
- A drum magazine based on a Friedrich Blum design
- The Bergmann MP 18
- Drum magazine made by BING and AEG
- Telescopic and folded loading lever
- A specific loading tool
- Israelian 100 round drum magazine for the Luger
- Japanese copies of the Luger drum magazine (MGC)
Magazine and dismounting tool technical data
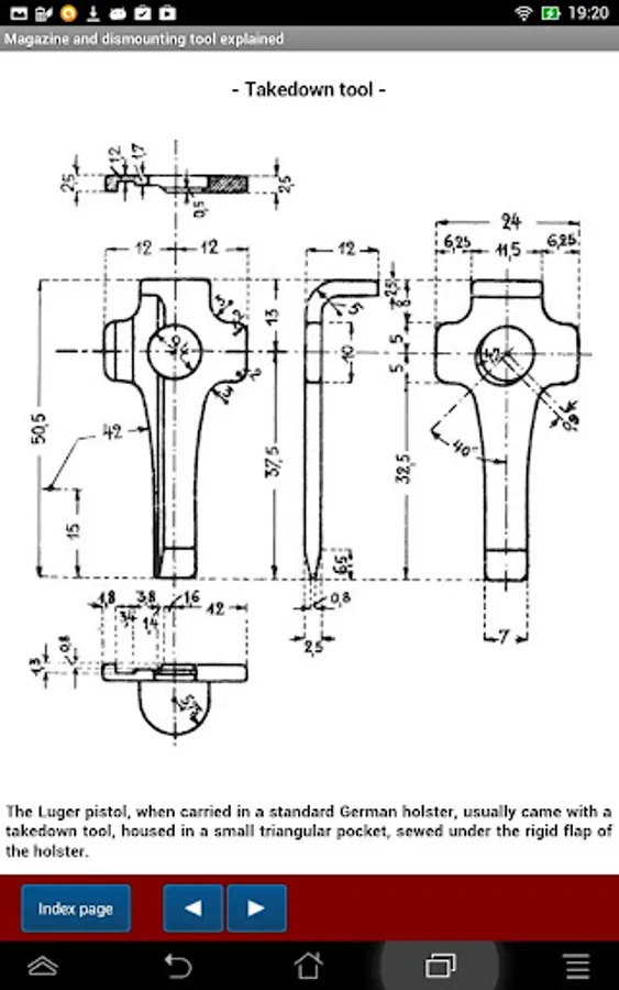
- Blueprints by the Royal Bavarian Rifle Factory
- Use of the takedown tool
The Luger holsters
- The Luger holster technical characteristics
- Beyond the German production
- The Rock Island Arsenal Luger holster
- German Military Standard Holster of the 1900 - 1932 era
- It is better for a collectable to remain in its original state
- Holster makers list of the Second Reich era
- Luger Police holster of the Weimar era
The Luger military holster of the Third Reich era
- Dimensions of the standard Third Reich Luger holster
- The flap fastening
- The purpose of the leather thong
- The magazine and takedown tool pouch
- The producers secret codes
- Governmental inspector numbers
- P08 & P38 holsters
German Luger holsters for non standard models
- The Long or "Artillery" Luger holster
- The Marine Luger holster
Presentation of the Ideal holster
- To make a rifle of a handgun
- When adapted to the Luger pistol
How the Ideal holster functions I
- The holster is provided with a stiffening frame
- Slidable telescoping arms
- Supplemental grip plates with recesses
How the Ideal holster functions II
- To hold the arms in their extended and retracted positions
- Other type of telescopic removable stock
- Benke Thiemann foldable shoulder stock
- DWM HITLER GUARD "NIGHT PISTOL"
- Pistols with a fixed magazine
- Hugo Borchardt's removable magazine
- Georg Luger's improvements
- Standard eight-cartridge capacity magazine prior to 1925
- The Luger magazine bottom piece
- The follower's button improvement
- Luger bottom first markings
- Portuguese Luger magazine
- Dutch Luger magazine
- German Military Luger magazine
- Cartridge Counter Luger magazine
- German Marine Luger magazine
- Erfurt Magazines
Aluminium bottoms of the Weimar era
- The magazine bottom from 1925 onward
- Simson & Co magazines
- Simson's specific markings
- The Naval specific markings of the Weimar era
- The HAENEL improved magazine
- HAENEL magazine specific markings
- Police Luger magazines
Magazine bottoms of the Nazi & post-Nazi era
- The Krieghoff's magazines
- Nazi Police markings
- Military Nazi magazines
- Mauser made magazines
- Improvement of the magazine coil spring
- Modification of the magazine bottom attachment
- Black plastic Luger bottom
Snail or drum Luger magazines
- A drum magazine based on a Friedrich Blum design
- The Bergmann MP 18
- Drum magazine made by BING and AEG
- Telescopic and folded loading lever
- A specific loading tool
- Israelian 100 round drum magazine for the Luger
- Japanese copies of the Luger drum magazine (MGC)
Magazine and dismounting tool technical data
- Blueprints by the Royal Bavarian Rifle Factory
- Use of the takedown tool
The Luger holsters
- The Luger holster technical characteristics
- Beyond the German production
- The Rock Island Arsenal Luger holster
- German Military Standard Holster of the 1900 - 1932 era
- It is better for a collectable to remain in its original state
- Holster makers list of the Second Reich era
- Luger Police holster of the Weimar era
The Luger military holster of the Third Reich era
- Dimensions of the standard Third Reich Luger holster
- The flap fastening
- The purpose of the leather thong
- The magazine and takedown tool pouch
- The producers secret codes
- Governmental inspector numbers
- P08 & P38 holsters
German Luger holsters for non standard models
- The Long or "Artillery" Luger holster
- The Marine Luger holster
Presentation of the Ideal holster
- To make a rifle of a handgun
- When adapted to the Luger pistol
How the Ideal holster functions I
- The holster is provided with a stiffening frame
- Slidable telescoping arms
- Supplemental grip plates with recesses
How the Ideal holster functions II
- To hold the arms in their extended and retracted positions
- Other type of telescopic removable stock
- Benke Thiemann foldable shoulder stock
- DWM HITLER GUARD "NIGHT PISTOL"
Show More